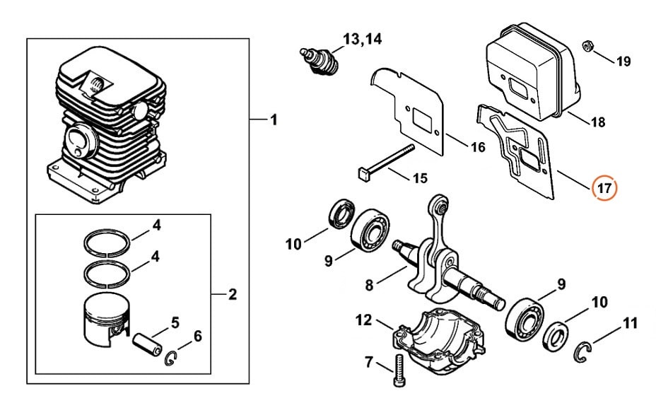
Охлаждающий лист глушителя нового образца для бензопилы STIHL [штиль] MS 180
Описание
Характеристики охлаждающего листа глушителя бензиновой пилы STIHL 180 после 2014 года выпуска.
Охлаждающий лист глушителя нового образца для бензопилы STIHL [штиль] MS 180. Оригинальная запчасть - артикул 11301413205. Подходит для агрегатов, выпущенных после 2014 года.
Купить охлаждающий лист глушителя нового образца для STIHL MS 180 в СПб.
Магазин ТЕХНОНИК - официальный дилер марки STIHL. С нашей стороны гарантируются оригинальность продукции и грамотная консультация по использованию изделия. При необходимости мы выполним ремонт бензопилы STIHL MS 180. Перед покупкой или заказом запасной части будет полезным свериться с деталировкой.
| № на схеме | Наименование | Артикул |
| 1 | Поршневая группа | 11300201208 |
| 2 | Поршень в сборе | 11300302004 |
| 4 | Кольцо поршневое | 11300343002 |
| 5 | Палец поршня | 11320341501 |
| 6 | Кольцо стопорное | 94636501000 |
| 7 | Винт IS-D5 х 24 | 90754784159 |
| 8 | Коленчатый вал | 11320300402 |
| 9 | Подшипник | 95030030312 |
| 10 | Сальник | 96380031581 |
| 11 | Стопорное кольцо | 94686211520 |
| 12 | Поддон картера | 11300212504 |
| 13 | Свеча зажигания NGK BРMR7А | 4626 |
| 14 | Свеча зажигания BOSCH WSR6F | 0242240506 |
| 15 | Шпилька глушителя | 11231481201 |
| 16 | Охлаждающий лист до 2014 г | 11301413200 |
| 17 | Охлаждающий лист после 2014 г | 11301413205 |
| 18 | Глушитель | 11301400600 |
| 19 | Гайка М5 | 92162610700 |
Отзывы
Задать вопрос

1926 г. Андреас Штиль основал в Штутгарте машиностроительный завод A. STIHL. Сегодня компания имеет свои представительства более чем в 160 странах, а марка STIHL означает высокое качество продукции и услуг.
